最終更新日
2025年 4月21日


ネタをyoutubeに移行中です。
チャンネル登録を宜しくお願いします。
上のバナーをクリックしてください。
スズキのスイフトです。 ブレーキに違和感があったので分解してみたら案の定、裏側のアタリがついてませんでした。
スズキのスイフトです。
カーボン柄の部分が色褪せたらしく、よくわかりませんがKeeperさんの商品で光沢を出してみました。
使用したものはこちら
ニュービートルのグローブボックス修理です。
ワーゲン系はいずれこうなりますので2000年代前〜中期の車両は中古で購入後に
開閉が怪しい場合は予防で最初から加工しても良いでしょう。
使用したものはこちら
冬眠から覚めたAMG SL63の簡単な点検です。
AMG GLC43のオイル交換をしました。ベンツは本当に簡単です。
ポルシェ993のオイル交換です。オイルフィルターは2個使っています。
コルベットです。面白い車ではありますが、このドアって出先で壊れたらどうするのでしょうか?
AMG GTに座ってみました。これは普通の車ではないです。灰皿壊したかと思いましたが、、、室内のモノはあまり触らない方がいいです。
BMW X3 20d(G01)のオイル交換をしました。
12万キロオーバーのダイハツ タントさん。KFエンジンはモチュールのフラッシング剤を使うべき。オイル消費が改善されました。
傷だらけの状態で購入したタントさんの見栄えを良くするためにポリッシャーでレジンを塗り込みました(笑)
三菱アウトランダーの防錆処理の依頼をうけました。 100%完全に錆から守れるわけではありませんが、硬い皮膜であるエンドックスを施工することで傷がつきずらくなって融雪剤が直接付着するのをある程度は防げます。
ニュービートルのオイルパン交換。ガスケットがないタイプは液体ガスケットで組み付けますが、必ず純正の液体ガスケットを使ってください。凄まじく臭いですけど。
ザ・ビートルのオイル交換をしました。
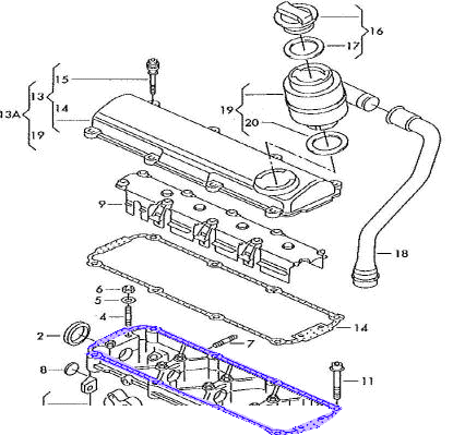
アウディの4気筒エンジン(ADR、AEBなど)はカムキャップ番号の順序が前後逆になっています。奥から数字を数えます。これが正解なのです。もし、この動画の通りではない場合、カム廻りの整備をしてから間違って組み付けている可能性があります。V6エンジンは普通に手前から数えますけど。
S1の右ヘッドライト交換。なんだろ・・・右ライト交換は初めてではないんです。おそらく狭いエンジンルームにハイパワーエンジン、右にクーラントタンクなどの熱源が寄っていることが原因かも。結構な高額修理となりました。
帝王号のエンジン鍛造化とタービン交換の簡単解説動画。
6万キロ台のホンダ フィットです。北海道を走るとこうなります。 札幌圏内で中古車を買う場合で錆が気になる方は見てください。バンパーを外さないとわからないということです。そして・・・・・きにすんなということでもあります。
ブレーキローターの下処理です。同業者にとっては余計な動画かも。 そのまま組んでるトコが多いので。 そのまま組んでも全く問題はありませんが、高齢者や女性などの場合は私は当たり付けを早めるためにこの作業は必ず行っています。融雪剤を撒く地域で冬期にブレーキ関係の整備をする場合も必要な工程です。
ボルボ XC90 T5 タイミングベルト交換です。
ボルボ T5 フロントブレーキローターの交換。 融雪剤の恐ろしさがわかります。視聴回数2万回突破!
メルセデス・ベンツ Gクラス(W463)のブレーキローターです。タイヤをきちんと外さないとブレーキローターの状態など全くわからないのが理解出来ると思います。
BMW IXのウォッシャー液の入れる部分です。知らない方がいたのであげました。
ポルシェ マカンのクーラント漏れ。ウォーターポンプを外した状態。
ポルシェ マカンのサーモスタット取り外しの様子です。希少な動画かも。
BMWの古めのディーゼルエンジンのEGRバルブの動きです。
K03タービンのブレードです。こんな小さいのです。
BMWのディーゼルエンジンのEGRバルブの動きです。
ポルシェ マカンのクーラント漏れの様子です。定番作業です。慣れてない整備士は重く感じる作業ですが、慣れるとたいしたことないです。
BMW X1(F48)やBMW2シリーズ、MINI R56などのヒーターフラップ故障は安く直ることが大半です。必要なものはヒートガンと細い鉄のピンです。
ニュービートルは19年。ドアの腐食で何度も板金してきましたが、限界なので中古のドアを使って再生を試みました。
F430に勝手に乗ってみました。
F355に勝手に乗ってみました。
F355のオイル交換をしています。うるさい車です・・・・・
アウディSQ5のオイル交換をしました。
アウディQ5 40 TDIのオイル交換をしました。
壊れた高圧燃料ポンプを分解して漏れた個所を特定しました。
VWパサート 2.0 TDIのオイル交換をしました。
ポルシェのオイル注入口はどこでしょう。
P072が入力されたアウディA3です。高圧ポンプとオイル交換をしました。
BMW X1(E84)のオイル交換をしました。
半年ぶりに帝王号のエンジンを始動しました。
P0172が入力された場合の判別方法です。
BMW X1(F48)のオイル交換をしました。
ワーゲン、アウディのディーゼルエンジン定番の始動しずらい修理。
日本のディーラーでは諸事情で不可能な修理方法、お金をかけずに輸入車を維持する情報などを公開しています。特に輸入車が急に入庫してきた国産の整備工場さん、新人メカニックさん、ハズレを引いた中古車販売店さんなどに有益な情報を心がけています。気に入った方はブックマークしていだだき、時々遊びにきてください。
※ディーラーに頼らずDIYで輸入車を修理しながら大事に乗る方を応援するサイトですが、作業にあたっては自己責任でお願いします。
帝王号更新情報
VW・AUDIでECUチューニングで
満足しなかった方はこちらへ

カムシャフト交換完了

カムシャフト加工完了
ほぼ新品カム入手

カムを交換することに

帝王号がトラブル

タントエグゼ、早速異音トラブル。

購入した激安軽自動車をメンテナンスしました。

色々ありまして足車を買いました。激安中古車です。再生させていきます。

帝王号、とうとう6回目のタービン交換です。
今回は準備編です。

オイルキャッチタンクは正しくつけましょう。

ワーゲン・アウディのエンジンはチューニングを進めていくとコンロッドがダメージを受けます。ガンガン本気で走るといつか必ず曲がるか折れます。すでに微妙に曲がっている可能性もあります。

ワーゲン・アウディの空燃比異常。厄介なのはリッチ状態。濃い状態だ。しかしそれが直噴であれば簡単だ。さぁ全国の整備士さん。クリック。

CLA、GLA、CLS、GLE・・・・・さまざまな車種に対応するバング&オルフセンのスーパーコピーツイーターの取り付けです。

ゴルフ7の欠陥「ヒーターコアの詰まり」。
今回は図解で徹底解説。

アウディ マグネティックライドの故障。

BMW HSR故障。交換するまえに見るべきところ。16万円が数千円で直るかも。

ワーゲンアウディのイグナイターは古くなったら失火していなくても必ず交換すること。

BMW MINI クーパーS クーラント漏れ。他店でポンプ交換後の再修理。

アウディのV6 オイル漏れ。真面目に直してください。「減るのは正常で〜す」なんていう店は信用しないでください。減るのも漏れるのも異常です。
10万キロ付近で行うべきアウディの整備。これをしないまま廃車となる個体が多すぎる。10万キロ以上でもまだ乗るなら一回は変えるべき。
BMWのダメダメシリーズ最新号。もう本当に新しいBMWは壊れます。タフだったBMWは3シリーズで言えばE36までだったと思います。新しいデバイスを増やす前にエンジンもミッションも熟成していってほしいものです。
BMWのディーゼルエンジンのトラブルの記事です。二回目です。お金をかけずに直してください。EGRの清掃は自分で直せるようになってくださいね。

初めて中古輸入車を購入する方はまずこれ読んでください。

猫も杓子もパナメリカーナグリル。実は車種によっては滅茶苦茶面倒な作業です。

BMW F31の謎のバッテリー上がり。意外な所に原因があります。リコールレベルですが、どうなんでしょうか・・・。

CLA/GLAにお乗りの方はシートヒーターに注意です。座り方を間違える簡単に故障します。

MINIクラブマン。またBMM。エンジン不調がたまたま直った実例。もう少しでエンジンブローでしたわ・・・。

BMWのエンジンブロー。最近のBMWはオイル漏れ等の故障だけでなく、ブローも多いです。国内の輸入車に関して言えばエンジン載せ替えの修理が最も多いメーカーかも知れません。

ハイエースの防錆です。仕事の車であり、男の車であり、高級車でもあります。これを錆から守りましょう。
アウディのシフトインジケーター不良。点滅?ちらつき?このどちらかが高額修理なのか否かの運命の分かれ道。
BMW E87の始動不良。久々にハマッた症例。過去の経験が生きた修理でした。
ワーゲンの最悪なウォーターポンプ。最新でこれかよ・・って感じ。本当に駄目なポンプです。外ではなく中に漏れるって・・・。

ベンツ w205 トランク閉まらない。トランクリッドのドアロックを交換しようとしないで!
BMW F30 F31 ウインドウォッシャーの警告灯が消えない方が多い。警告灯は一生消そう。

ベンツ W212,W218 M276のエンジンは意外にセルが壊れる。あまりアイドリングストップは作動させないほうがいいかも知れない。

○ックスはするな。それを書きます。
時は来た!それだけだ。

エンジンの上に工具を置いてゴメンなさい。ちょっと急ぎで作業しました。アウディの横置きターボの排気温度センサー交換は実は簡単なのです。何も外す必要はありません。

BMWのディーゼルなんですが・・正しい乗り方ができない方は買わないか、メンテナンスできるように努力しましょう。ディーラーのお世話になりたくない整備工場さんもEGRの清掃くらいは出来るようになれば収益になりますよ。
メルツェデス・ベンツの車高センサー。 エアサスで無くても付いてます。最近、ライトの照射がおかしい、エアサス車でリアの車高が左右でおかしい、車高が上がりっぱなしなどなど。 結構壊れるパーツで、体感していないから壊れたままの車両も多いです。これも高額。自分で直してみましょう。
BMW 電子シフトの故障。時々入らない、インジケーターが光らない、ディーラーでASSY交換と言われて困っていませんか?そんなものは自分で直せるかも。














オススメページ

